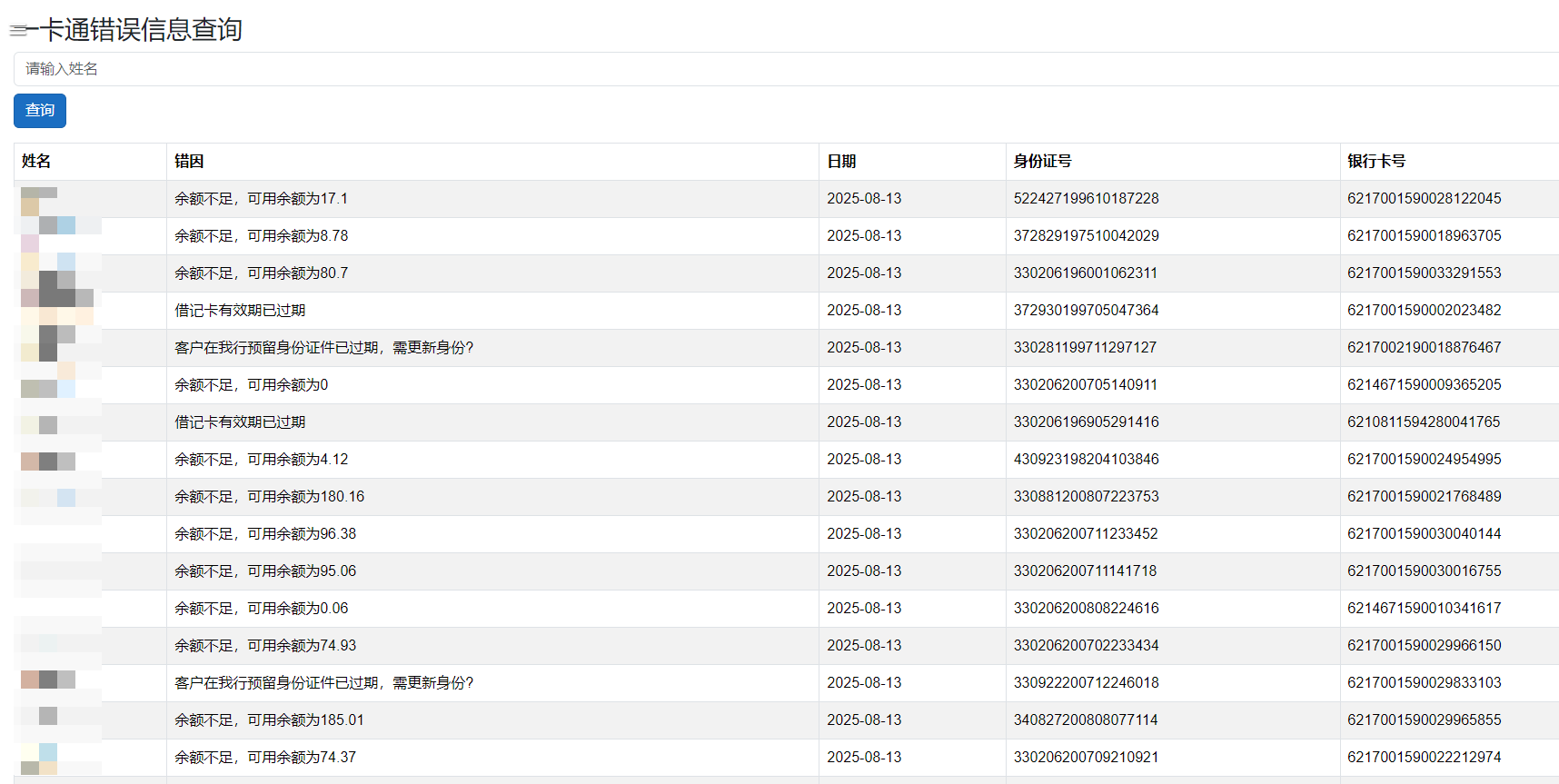
教学信息化 微格教室系统使用说明 ● 2025-09-18 教学信息化 在班级教室如何使用学校群晖网盘 ● 2025-08-18 教学信息化 学生电话卡因为欠费停机,如何进行充值 ● 2025-08-15 教学信息化 柴中共享盘RaiDrive软件卡死不能退出的解决方法 ● 2025-05-21 教学信息化 如何下载B站(bilibili)的视频 ● 2025-04-24 教学信息化 浙里报审批和报销流程说明 ● 2025-03-24 教学信息化 柴中共享盘、教研组盘、私人盘安装说明 ● 2024-10-14 教学信息化 学生饭卡转账失败原因查询方式说明 ● 2024-10-08 教学信息化 希沃白班掌上看班使用说明 ● 2024-09-27 教学信息化 外出教研申报系统使用说明 ● 2024-09-19 教学信息化 教室新灯光系统使用说明 ● 2024-09-10 教学信息化 柴桥中学教师请假系统使用说明 ● 2024-09-06 教学信息化 新的一体机的开机方式 ● 2023-11-03 教学信息化 2022学年(2022年7月1日-)柴中教学成果公示 ● 2023-06-26 教学信息化 教学展风采,希沃来助力 -柴桥中学教师希沃白板使用技能比赛 ● 2023-04-10 教学信息化 启用更方便和快捷的文件储存、同步和共享方式 ● 2023-03-27 教学信息化 举办柴桥中学教师希沃白板使用技能比赛的通知 ● 2023-03-15 教学信息化 使用希沃白板中的笔工具是没有延迟 ● 2022-10-17 教学信息化 如何让希沃平板电脑更护眼 ● 2022-10-17 教学信息化 利用希沃平板的摄像头和音视频功能 ● 2022-10-14 教学信息化 用教室内的希沃平板电脑来录课 ● 2022-10-08 教学信息化 微格教室使用方法 ● 2022-09-22 教学信息化 希沃一体机和扩音设备使用培训 ● 2022-08-21 教学信息化 校园网wifi的连接方式 ● 2022-08-18 教学信息化 利用浏览器的扩展插件加速视频播放速度的方法 ● 2022-08-15 教学信息化 sunny的安装和配置 ● 2022-08-10 教学信息化 从钉钉后台观看柴中新闻的方法 - Copy ● 2022-07-30 教学信息化 如何发全校或全年级通知 ● 2022-07-06 教学信息化 关于更换教室内wifi信号的通知 ● 2022-06-06 教学信息化 校网发表文章,表格和图片在手机端显示比例失调问题的解决 ● 2022-06-05 教学信息化 微格教室如何直播和录播 ● 2022-05-07 教学信息化 柴桥中学启用新网站系统和用手机看柴桥中学校网的方法介绍 ● 2022-05-05 教学信息化 数据驱动,精准教学——浙师大黄立新教授莅临学校指导 ● 2022-03-03 教学信息化 手机投屏最新解决方案(苹果、安卓通用版) ● 2021-12-15 教学信息化 学校召开信息技术提升工程2.0启动大会 ● 2021-12-02 教学信息化 小米摄像头如何查看回放 ● 2021-11-05 教学信息化 关于使用希沃授课助手时选择wifi信号的问题 ● 2021-10-18 教学信息化 在钉钉手机端观看柴中新闻和一周安排的方法 ● 2021-01-08 教学信息化 之江汇积分规则 ● 2020-12-25 教学信息化 柴桥中学打印室打印机使用规范 ● 2020-09-17 教学信息化 安装(重装)sunny软件的方法 ● 2020-09-16 教学信息化 如何拦截电脑端的弹窗 ● 2020-09-15 教学信息化 学校三种教育网wifi信号的说明 ● 2020-09-14 教学信息化 关于浙政钉添加用户头像的通知 ● 2020-09-07 教学信息化 在柴桥中学部门群添加机器人(柴中小宝)的方法和用处 ● 2020-07-17 教学信息化 关于做好钉钉群重要文件备份的通知 ● 2020-07-15 教学信息化 关于调整柴桥中学钉钉组织架构和钉钉群的说明 ● 2020-07-14 教学信息化 从钉钉平台观看柴中新闻和柴中一周安排的方法 ● 2020-07-06 教学信息化 利用钉钉“家校本”发班级学生成绩的方法 ● 2020-06-24 教学信息化 爱数anyware软件解决电脑硬盘容量不够和家里办公的文件同步问题 ● 2020-06-07 教学信息化 希沃授课助手在日常教学中的使用案例 ● 2020-06-07